For full functionality of this site it is necessary to enable JavaScript.
EMIN.ASIA
0
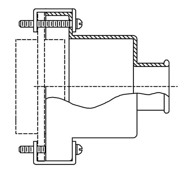
Glenair 500-047M31EB D-Sub Backshells CLOSE TOLERANCE - MICRO-D BACKSHELLS | EMIN.ASIA